1 :
名前を入れてください
2018/04/15(日) 16:39:46.22
ID:YVkxoY870
3 :
名前を入れてください
2018/04/15(日) 16:42:31.48
ID:+AsEVEXHa
うおおおおおおおお!これはきたああたあ!
4 :
名前を入れてください
2018/04/15(日) 16:43:40.52
ID:LhoLV8fNd
どう見ても知育玩具
6 :
名前を入れてください
2018/04/15(日) 16:45:01.33
ID:YVkxoY870
>>4
どこのトイオだよ
どこのトイオだよ
5 :
名前を入れてください
2018/04/15(日) 16:44:15.76
ID:DtXgc45n0
13 :
名前を入れてください
2018/04/15(日) 16:50:06.92
ID:YVkxoY870
>>5
グーグルの組み立て式スマホ思い出した
グーグルの組み立て式スマホ思い出した
16 :
名前を入れてください
2018/04/15(日) 16:52:55.06
ID:aCAGtLv80
>>5
3画面!?
3画面!?
41 :
名前を入れてください
2018/04/15(日) 17:09:16.20
ID:gh+RjcrN0
>>5
これはワクワクするな
これはワクワクするな
50 :
名前を入れてください
2018/04/15(日) 17:17:54.83
ID:/q8GY/L5M
>>5
これ最終的に梱包して発送できそう
これ最終的に梱包して発送できそう
7 :
名前を入れてください
2018/04/15(日) 16:46:10.54
ID:R1GJv1wN0
どっちの画面もタッチできるDSだと?
8 :
名前を入れてください
2018/04/15(日) 16:46:14.44
ID:YVkxoY870
仮に出すとしたら2020年かな
折りたたみ液晶普及してるし
折りたたみ液晶普及してるし
9 :
名前を入れてください
2018/04/15(日) 16:46:55.71
ID:YVkxoY870
無理に画面だけを増やすメリットってマジで無くね?
10 :
名前を入れてください
2018/04/15(日) 16:47:31.71
ID:/hRDm+qK0
稼動する液晶か
14 :
名前を入れてください
2018/04/15(日) 16:51:39.62
ID:lNkVM/3F0
次世代機じゃなくてswitch複数数台使用に関する特許じゃないの
19 :
名前を入れてください
2018/04/15(日) 16:54:09.19
ID:Cj8L0kQOa
>>14
例えばポケモン交換で本体並べて画面を指でスライドさせるだけで交換出来るとか
そういう特許だね
例えばポケモン交換で本体並べて画面を指でスライドさせるだけで交換出来るとか
そういう特許だね
17 :
名前を入れてください
2018/04/15(日) 16:52:57.19
ID:/5EO7+Jb0
複数画面じゃなくペリングしたハードと連携した遊びじゃねえの
18 :
名前を入れてください
2018/04/15(日) 16:53:21.06
ID:yh0K6ybY0
複数台使用を想定したものかな?
43 :
名前を入れてください
2018/04/15(日) 17:09:26.04
ID:l2jD5ecL0
>>18
もちより連動だと自分も思う
アケアカとかでダライアスがもちより同時プレイとかできるようになるといいのう
カプコンのD&Dが持ち寄り2画面4人同時できるのでたら嬉しい
もちより連動だと自分も思う
アケアカとかでダライアスがもちより同時プレイとかできるようになるといいのう
カプコンのD&Dが持ち寄り2画面4人同時できるのでたら嬉しい
20 :
名前を入れてください
2018/04/15(日) 16:54:16.20
ID:XoOua/php
Switchの周辺機器ってのは無い?
21 :
名前を入れてください
2018/04/15(日) 16:55:27.42
ID:sFgnOXr80
ニンテンドーラボ3弾だろこれ
22 :
名前を入れてください
2018/04/15(日) 16:56:08.67
ID:YVkxoY870
もっと細かく液晶も分離出来るようになるのかな?
23 :
名前を入れてください
2018/04/15(日) 16:56:45.88
ID:6ifWtkwG0
これがそのまま出るわけではないんだよね
スイッチが出る前、コントローラーが外せる特許が出て来たんだから
コンセプトが似たものが出る
スイッチが出る前、コントローラーが外せる特許が出て来たんだから
コンセプトが似たものが出る
25 :
名前を入れてください
2018/04/15(日) 16:58:06.30
ID:jwrlITwIM
2画面とかコスト上がるか低品質な画面になるしソフト開発にも影響するからやめとけばいいのに
31 :
名前を入れてください
2018/04/15(日) 17:01:48.75
ID:YVkxoY870
>>25
マジでコレ
Switchになってやっとマトモなモノが出来たと安心したわ
携帯機としたら破格のスペックだからなSwitch
マジでコレ
Switchになってやっとマトモなモノが出来たと安心したわ
携帯機としたら破格のスペックだからなSwitch
28 :
名前を入れてください
2018/04/15(日) 16:59:31.04
ID:YVkxoY870
とりあえず任天堂はスマホを出せよ
これだけでも覇権不可避
これだけでも覇権不可避
33 :
名前を入れてください
2018/04/15(日) 17:03:08.49
ID:tyLVqhF60
ラボ路線の周辺機器だろ
35 :
名前を入れてください
2018/04/15(日) 17:03:39.98
ID:+RjLp5Sk0
携帯次世代機を出すということは
Switchとの明確な方向性の切り分けが出来たということだろうな
そこが上手く出来てないと潰し合いになるからな
Switchとの明確な方向性の切り分けが出来たということだろうな
そこが上手く出来てないと潰し合いになるからな
36 :
名前を入れてください
2018/04/15(日) 17:04:12.99
ID:DtXgc45n0
内容読みたいならこれだよ
https://www.j-platpat.inpit.go.jp/web/PU/JPA_H30060438/CD191AB996E891A99BED0168042BFD8C
https://www.j-platpat.inpit.go.jp/web/PU/JPA_H30060438/CD191AB996E891A99BED0168042BFD8C
38 :
名前を入れてください
2018/04/15(日) 17:06:13.09
ID:6ifWtkwG0
>>36
有能
サンクス
有能
サンクス
42 :
名前を入れてください
2018/04/15(日) 17:09:20.79
ID:Wk50A3/vd
>>36
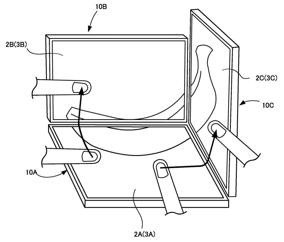
複数のタッチパネルを仮想的に連結して、タッチやオブジェクトの移動を跨ぐ事を可能にするって技術特許やな
新ハードと言うよりはSwitchを複数台持ち寄る事で出来るゲームシステムが目的っぽいな
複数のタッチパネルを仮想的に連結して、タッチやオブジェクトの移動を跨ぐ事を可能にするって技術特許やな
新ハードと言うよりはSwitchを複数台持ち寄る事で出来るゲームシステムが目的っぽいな
48 :
名前を入れてください
2018/04/15(日) 17:17:12.51
ID:XOmS659zM
ラボではなさそう
もしラボなら液晶まで売らなくちゃいけなくなるし
もしラボなら液晶まで売らなくちゃいけなくなるし
52 :
名前を入れてください
2018/04/15(日) 17:20:04.68
ID:yWcBSsOs0
これは新ハードの特許とは違うね
スマホかSwitchのタッチパネルと画面に対応した技術かー
これで面白くなるゲームってどんなだろう
スマホかSwitchのタッチパネルと画面に対応した技術かー
これで面白くなるゲームってどんなだろう
56 :
名前を入れてください
2018/04/15(日) 17:21:55.39
ID:Wk50A3/vd
ゲームシステム特許だからタッチパネルならSwitchとスマホ、タッチモニタでもええわな




コメント一覧
コメントする