2 :
名無しさん必死だな
2017/08/29(火) 13:37:10.14 pNIKU
4 :
名無しさん必死だな
2017/08/29(火) 13:37:40.60 aNIKU
誰が買うのこれ
8 :
名無しさん必死だな
2017/08/29(火) 13:40:51.68 0NIKU
バランスわりぃなwww
11 :
名無しさん必死だな
2017/08/29(火) 13:41:18.20 dNIKU
>>2
落としたらバキっていくだろこれ
落としたらバキっていくだろこれ
20 :
名無しさん必死だな
2017/08/29(火) 13:45:21.66 0NIKU
(´д`|||)
46 :
名無しさん必死だな
2017/08/29(火) 14:00:07.17 MNIKU
やっつけ画像過ぎて吹いた
69 :
名無しさん必死だな
2017/08/29(火) 14:22:19.77 aNIKU
しかしくそだせえな
まあ嘘だろうけど
まあ嘘だろうけど
71 :
名無しさん必死だな
2017/08/29(火) 14:24:35.13 pNIKU
マジなら買うわw
全機種持ちのマニアなオレw
全機種持ちのマニアなオレw
72 :
名無しさん必死だな
2017/08/29(火) 14:25:20.48 0NIKU
これ出てきたら流石に笑うわ
74 :
名無しさん必死だな
2017/08/29(火) 14:27:00.30 0NIKU
>>2
こんなの熱で捻じ曲がったり変形したりするだろ
こんなの熱で捻じ曲がったり変形したりするだろ
78 :
名無しさん必死だな
2017/08/29(火) 14:30:30.19 MNIKU
誰も信じてなくてワロタw
82 :
名無しさん必死だな
2017/08/29(火) 14:36:30.73 dNIKU
>>2
これぐらい雑な方がネタ的に面白いなw
これぐらい雑な方がネタ的に面白いなw
85 :
名無しさん必死だな
2017/08/29(火) 14:40:31.04 dNIKU
こんなん外でやってるやつ見たら指差して笑うわ
88 :
名無しさん必死だな
2017/08/29(火) 14:45:03.43 0NIKU
>>2
ここまで斜め下にフルスイングするなら俺は応援するぞw
ここまで斜め下にフルスイングするなら俺は応援するぞw
100 :
名無しさん必死だな
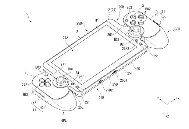
2017/08/29(火) 14:53:00.96 pNIKU
特許に出願してる画像!
http://i.imgur.com/cbMrSga.jpg
http://i.imgur.com/98ffNcX.jpg
http://i.imgur.com/BC2HcWp.jpg
http://i.imgur.com/Q6SVW2K.jpg




http://i.imgur.com/cbMrSga.jpg
http://i.imgur.com/98ffNcX.jpg
http://i.imgur.com/BC2HcWp.jpg
http://i.imgur.com/Q6SVW2K.jpg




102 :
名無しさん必死だな
2017/08/29(火) 14:55:04.23 0NIKU
>>100
アッハッハwwwww
アッハッハwwwww
104 :
名無しさん必死だな
2017/08/29(火) 14:58:52.24 dNIKU
>>100
これ見るとSwitchは優秀だってわかる
設計の見直しが必要
これ見るとSwitchは優秀だってわかる
設計の見直しが必要
108 :
名無しさん必死だな
2017/08/29(火) 15:02:42.55 0NIKU
>>100 よりは >>2 のほうがいいなw
>>2のコントローラー部分がハの字に開いてるアホっぽさがすごくいいw
>>2のコントローラー部分がハの字に開いてるアホっぽさがすごくいいw
138 :
名無しさん必死だな
2017/08/29(火) 15:40:35.35 0NIKU
まさに文字通り、取っ手つけたような酷いデザイン



コメント一覧
コメントする